豪威智慧校园网络集中管理平台
豪威智慧校园网络集中管理平台为我司自研产品,于2019年获得计算机软件著作权,该平台旨在通过先进的网络技术和智能化管理手段,提升校园网络的管理效率与安全性,为师生提供更加稳定、高效的网络环境。平台集成了基础信息、社团管理、订餐管理、教科研管理 、排课管理、课表查询、请假管理、考勤管理等多项功能,能够实现对校园网络的全面集中化管理。通过该平台,学校可以实时掌握学校各项运行状态,快速排查和解决突发故障,确保教学、科研和管理工作的顺利进行。此外,平台还支持大数据分析,帮助学校优化网络资源配置,提升网络使用体验。
豪威智慧校园网络集中管理平台主要包括十九项功能:
1.基础信息(工作日、工作日种类、教学周、值班安排、学年年级班级管理、年级学科管理、教职工管理、学生家长信息、新教师审核、学籍管理、班内学籍管理、学籍异动申请管理、学籍异动审核、新生报到信息审核);
2.社团管理(社团计划、我的社团、社团报名、社团报名导入、报名审核、社团点到、社团签到情况、我的社团签到、社团活动记录、活动申报、活动审核、社团大型活动、社团评价记录、社团评价、学生评价社团、教师评价学生、社团排课);
3.订餐管理(职工订餐、子女订餐、订餐查看、外来人员就餐、职工临时就餐、职工订餐审核、子女订餐审核、职工订餐记录、子女订餐记录、职工订餐审核、子女订餐审核、餐费付款状态、订餐统计、餐类价格管理、临时集体调餐);
4.教科研管理(科研项目、教研活动、科研项目管理、我的科研、教研组管理、教研活动管理、我的教研、教科研成果收集、教科研成果管理、我的教研组成果、雁阵团队管理、我的雁阵团队、公开课管理、我的公开课、集体备课管理、我的集体备课);
5.排课管理(课时设置、课节管理、教师任课管理、排课任务、排课、调课管理、排课记录、课后服务);
6.课表查询(班级课表、教师课表、今日课表、总课表、查询空闲教师、教师课程分布、科目权重设置、工作量统计);
7.请假管理(审核模板、请假管理、请假审批、学生请假、学生请假审批、公派外出、公派外出记录);
8.考勤管理(人脸模板信息、本班学生考勤、教职工识别记录、学生识别记录、陌生人识别记录、考勤记录、考勤时段管理/学生考勤时段管理、考勤报表、昨日考勤/今日考勤、考勤查询、学生考勤管理、学生考勤记录、考勤设备管理、用户同步管理、门禁权限管理、门禁节假日管理);
9.云课堂(直播管理、我的直播、录播视频、视频审核、课程资源、我的课程资源、直播列表、演播厅直播);
10.资产管理(场地管理、低值易耗、固定资产、资产申请、维修管理、采购管理);
11.资料共享(共享网盘、公文流转、资料收集、我的资料收集);
12.教务管理(走课基础配置、行政走课管理、行政走课查看、工作台账管理、我的工作台账、工作计划管理、工作计划查看、加班申报、安排加班、加班审核、加班统计、内务听评课管理、内务教案管理、内务作业管理);
13.晨午检管理(班级晨午检管理、健康异常管理、健康异常查看、晨午检查看、晨午检汇总);
14.智慧党建(党员管理、党内资料、党内文件发布、党内文件接收、党小组管理);
15.五星班级管理(评比管理、评比查看、评比统计);
16.运动会(运动会管理、竞技项目管理、年级项目设置、竞技项目报名、比赛日程管理、运动员管理、运动员检录、田赛成绩管理、径赛成绩管理、入场顺序安排、代表队名单、田赛日程表、径赛日程表、积分统计查询、运动员名册、比赛运动员名册、田径赛成绩公示);
17.考试系统(考试管理、考试查看、考试成绩、学生考试班级排名、题目管理、试卷管理、我的监考、考试项目查看、考试查看、监考查看、考生查看、考试项目班级汇总、学生成绩汇总、班级科目汇总、学生考试年级排名);
18.系统管理(角色管理、手机角色管理、部门管理、职务管理、我的部门、通讯录);
19.通知消息(通知管理、我的通知)
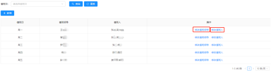
(一)工作日

图1 工作日“月”
此为工作日功能页面,如图1 工作日“月”所示右上角为年月日设置。
图2 修改工作日
“月”显示当月的工作日信息,点击周一至周日的任意模块,显示修改工作日信息,如图2 修改工作日信息所示。
图3 工作日“年”
点击工作日页面的右上角“年”,显示以月份为单位的12个月,鼠标单击某月,设置整月工作日计划,周六周日除外。如图3 工作日“年”所示。

图4 取消该月工作日
单击已设置的月份,弹出提示窗口,点击确定即可取消该月所有的工作日。如图4 取消该月工作日 所示。
(二)工作日种类

图1查询工作日种类
输入框输入工作如种类名“全天”、“上午”、“下午”中任意一个,点击查询,即可查找对应的工作日种类数据,点击重置,恢复为默认的所有数据。如图1查询工作日种类所示。

图2 工作日种类-新增
点击新增按钮,弹出新增弹框,可设置“工作日种类名”、“开始时间”、“结束时间”,鼠标聚焦输入框即可设置时间。如图2 工作日种类-新增 所示。


图3 工作日种类-批量操作 图4 工作日种类-编辑
点击数据左侧选项框,出现批量操作按钮,点击可批量删除数据。如图3 工作日种类-批量操作 所示。
点击数据右侧的编辑栏,弹出“编辑”弹框,与“新增”弹框类似。如图4 工作日种类-编辑 所示。
(三)教学周
点击“生成教学周”可生成一学期新的教学周。
(四)值班安排
值班安排页面的搜索栏可以通过“值班日”下拉选项进行查询,“修改值班领导”可通过选择值班人进行修改,“修改值班人”同理。如图1 值班安排 所示。

图1 值班安排
点击“修改值班领导”,进入编辑弹框如图2值班安排-修改值班领导 所示。

图2 值班安排-修改值班领导
点击值班人“选择”,弹出教职工选择界面,可以在搜索框通过“真实姓名”,“手机号码”来进行教职工查询,在教职工列表左侧的单选框对教职工进行选择,右侧显示栏将根据选择来显示已勾选的教职工,点击右下角确定即可选择值班领导完成。如图3修改值班领导-教职工选择所示。

图3 修改值班领导-教职工选择
点击“修改值班人”,进入编辑弹框与“修改值班领导”操作类似,可参考上方“修改值班领导”。
(五)学年年级班级管理
图1 学年管理-添加学年
图2 学年管理-新增学年
学年年级班级管理页面,添加学年弹出弹框“新增学年”,添加新增学年的数据。如图1 学年管理-添加学年 、图2 学年管理-新增学年所示。

图3 学年管理-同步班主任权限
点击同步班主任权限按钮后,系统将选中学年/学期的所有班主任/副班主任自动同步到班主任/副班主任角色中,获得对应的权限。如图3学年管理-同步班主任权限所示。
图4 学年管理-年级信息
点击添加学年下方的学年数字,如点击2022年下学期,进入年级班级信息页面如图4学年管理-年级信息 所示。

图5 学年管理-新增年级
点击年级信息下的增加,设置新增年级的信息,“年级组长”、“年级副组长”后的选择按钮,点击进入“教职工选择”弹框,与“(三)值班领导设置”类似。如图5 学年管理-新增年级 所示。
图6 学年管理-全校班主任导出
点击全校班主任导出按钮后,系统将导出选中学年/学期的所有班主任/副班主任的相关信息。如图6 学年管理-全校班主任导出所示。
图7 年级信息-年级信息修改
年级信息下操作栏,点击“年级信息修改”,进入“编辑”弹框,修改已制定好的年级信息,设置年级组长和年级副组长,点击“选择”按钮,进入“教职工选择”弹框。如 图7 年级信息-年级信息修改 所示。

图8 学年管理-班级信息
“班级信息”位于“年级信息”下方,与“年级信息”操作类似,“导出”按钮是导出现有的班级数据,“导入”按钮是批量导入外部表格文件。
(六)年级学科管理

图1 年级学科管理
年级学科管理页面,输入框可以通过“学科”、“年级”查询学科信息。如 图1 年级学科管理 所示。

图2 年级学科管理-新增
点击“新增”,进入“新增”弹框,可增加学科与年级,在输入框输入即可。已增加的学科数据后点击“编辑”,可修改已添加的学科信息,与“新增”操作类似。如 图2 年级学科管理-新增 所示。
(七)教职工管理
教职工管理页面,“添加用户”是新增用户信息,“回收站”查询已删除的用户,“+扩展字段”是在原有信息的基础上扩展信息,“编辑”是修改用户信息,。如 图1 教职工管理 所示。

图1 教职工管理
用户信息填写、修改和更多下的详情。如 图2 教职工管理-基本信息 所示。

图2 教职工管理-基本信息
点击“+扩展信息”,进入“用户扩展字段”弹框界面,“新增”和“删除”是对字段信息进行添加或删除。如图3教职工管理-扩展信息所示。

图3 教职工管理-扩展信息
点击“更多”下面的“密码”可以修改当前用户的密码。 如图4 更多-密码

图4 更多-密码
点击“更多”下面的“删除”可以删除当前用户。如图5 更多-删除

图5 更多-删除
点击“更多”下面的“冻结”可以冻结当前用户。如图6 更多-冻结

图6 更多-冻结
点击“更多”下面的“子女信息”可以查看当前用户绑定的子女,或者绑定新的子女。如图7(1)更多-子女信息,图7(2)子女信息-新增。
图7(1)更多-子女信息
图7(2)子女信息-新增
点击“更多”下面的“荣誉信息”,可以查看当前教职工的荣誉信息或者添加该教职工的荣誉信息。如图8(1)更多-荣誉信息,图8(2)荣誉信息-新增。

图8(1)更多-荣誉信息

图8(2)荣誉信息-新增
(八)学生家长信息
学生家长信息界面,“查询”可在输入框通过关键信息快速查询到家长信息,“新增”可新增家长信息,“导出”可导出你想导出的家长信息,“下载导入模板”点击下载后可以按照模板填写家长信息,然后“导入”该模板填入的家长信息,点击“删除”可删除当前家长信息。如图1.
点击“编辑”可对当前家长的信息进行修改。如图2.

图1 学生家长信息

图2 学生家长信息—编辑
(九)新教师审核
可根据查询条件点击“查询”信息。当前页面是新教师提交注册信息后,审核人在此审核是否通过;也可查看审核结果,或“批量操作”当前新教师的注册信息。如图。

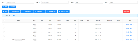
(十)学籍管理
“学籍管理”管理学生信息,与“教职工管理类似”。“生成学生pin码”是生成考勤机用户ID。如图1 学籍管理 所示。

图1 学籍管理
点击“更多”下的“删除”可删除当前学生信息。如图2 更多-删除。
图2 更多-删除
点击“更多”下的“监护人信息”可以查看该学生的监护人信息和新增监护人信息。如图3更多-监护人信息,图4监护人信息-新增。
图3更多-监护人信息

图4监护人信息-新增
点击“更多”下的“综合实践记录”可以管理该学生的综合实践记录。如图5更多-综合实践记录。
图5更多-综合实践记录
点击“更多”下的“奖惩记录”可以管理该学生的奖惩记录。如图6 更多-奖惩记录。
图6 更多-奖惩记录
(十一)班内学籍管理
班主任可以查看和管理自己班内学生的学籍,可以通过关键词查询你想修改的学生信息。如图1.

图1 班内学籍管理
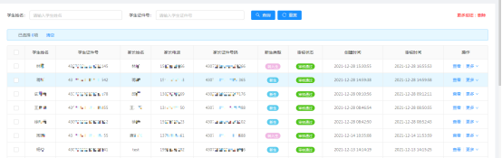
(十二)学籍异动申请管理
在此页面可以点击“新增”提交异动申请,也可“导出模板”,根据模板填写所有异动的学生,然后“导入”。如图1.

图1 学籍异动申请管理
点击操作下的“查看审核信息”可以查看审核状态,如图2.
点击“查看该生信息”不管该生是否已转出,也可以查看该生的基本信息。如图3.
点击“撤销”将撤回该生转出的异动申请。

图2 学籍异动申请管理-查看审核信息

图3 学籍异动申请管理-查看该生信息
(十三)学籍异动审核
审核人员可以在此页面“审核”异动学生信息,如审核通过后发现操作错误想撤回可以点击“撤销”。其他同学籍异动申请管理页面。

图1 学籍异动申请管理

图2 学籍异动申请管理-审核
(十四)新生报到信息审核
新生注册后,审核人员可在当前页面进行审核

二、社团管理
(一)社团计划
在搜索栏通过“社团编号”,“社团名称”,“社团状态”对社团进行查询,在下方列表处展示社团计划信息,如图1社团计划 所示。
图1 社团计划
社团计划页面的“新增”按钮,点击添加社团信息,“负责人”选项后“选择”,点击进入“教职工选择”弹框,选择社团负责人。如 图1 社团计划、图2 社团计划-新增 所示。
图2 社团计划-新增
社团计划页面的“编辑”与新增操作类似,具体参考上述社团计划-新增操作。如图3 社团计划-编辑 所示。
图3 社团计划-编辑
点击社团计划页面“下载社团安排模板”下载excle表格,如图4 社团计划-社团安排模板所示。当前社团安排导入可以把社团和社团班级一次性导入。

图4 社团计划-社团安排模板
鼠标移到社团计划列表操作列“更多”悬浮框,点击“社团班级”如图5,进入社团班级信息弹框界面,在搜索栏通过输入“社团班级编号”,“学年”下拉选项框选择,“教师”选择弹框选择教师进行社团班级的查询,“新增”将为该社团添加新的班级信息,“导出”按钮是导出社团班级信息,“编辑”将对已有的班级信息进行修改,操作与社团计划类似,可参考图2社团计划-新增。如图6 社团计划-社团班级 所示。

图5 更多-社团班级
图6 社团计划-社团班级
“社团老师”与“社团班级”操作一致,可参考上述社团计划-社团班级操作。如图7(2) 社团计划-社团老师 所示。
社团老师的导入,点击“下载社团老师模板”,当前模板可以导入所有社团班级的社团老师。如图7(1)

图7(1)社团老师模板
图7(2)社团计划-社团老师
班级社团的导入,点击“下载班级社团模板”,根据模板信息填写班级社团信息,然后点击导入操作下的“导入班级社团”导入已经填写好的班级社团模板。



图8 社团班级-社团学生
鼠标移到图6社团班级列表操作列“更多”悬浮框,点击“社团学生”,进入该社团班级的学生信息弹框界面。如图8 社团班级-社团学生所示。

图9 社团计划-管理学年社团班级
点击“管理学年社团班级”按钮,进入社团的班级信息弹框界面,在搜索栏通过社团的“选择”按钮来选择社团,“状态”下拉框选择社团班级状态,“教师”选择按钮来选择老师,来查询相应得学年社团班级信息并在下方列表显示。如图9 社团计划-管理学年社团班级 所示。
点击“编辑”按钮,进入编辑弹框界面,点击“选择”按钮将弹出教职工选择界面来选择授课教师,输入信息后,点击确定将提交修改信息,并完成社团班级编辑操作。如图10 管理学年社团班级-编辑所示。
图10 管理学年社团班级-编辑
选中社团班级后可以改变当前社团班级状态,在左边的复选框勾中选择的社团班级,点击批量操作下的“修改班级状态”,选择需要修改的状态,点击确定即可。


管理学年社团班级界面的“社团学生”与图8 社团班级-社团学生操作一致,可参考社团班级-社团学生。
(二)我的社团
当前页面显示的是社团负责人负责的相关社团。

点击社团班级可以查看该社团下的相关班级。

点击社团学生可以查看相关班级下的社团学生。

咨询电话:0736-7771991
